网站首页  百科知识

请输入您要查询的百科知识:

 

词条 电铃
类别 中文百科知识
释义

电铃Dianling

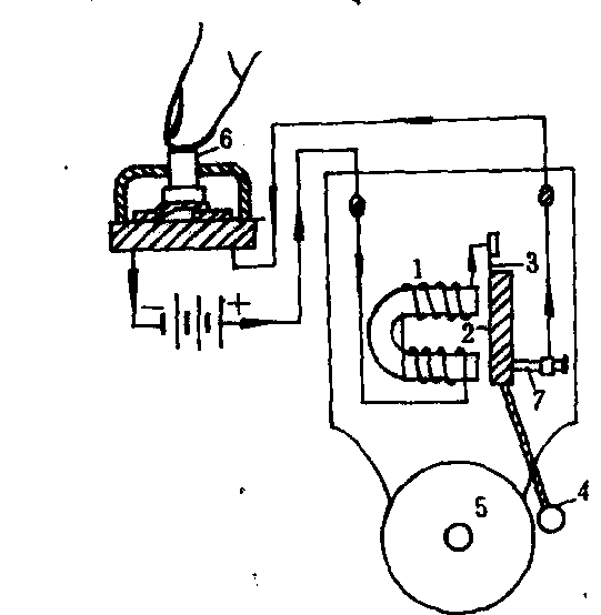
电流通过电磁铁产生周期性变化的磁力,从而吸引磁铁振动而使铃发声的一种装置。可分为直流电铃和交流电铃两种。直流电铃的构造见图,其工作原理是;按下电键时,电路接通,直流电通过断续器后再经过电磁铁的励磁线圈并产生忽通忽断的电流,从而使电磁铁具有时强时弱的磁性,对衔铁产生时有时无的磁力。当衔铁被电磁铁吸过去时,其下端的小锤就会在铃上敲一下;与此同时,电路被切断,电磁铁对衔铁的磁力即行消失,弹簧片随之反弹回去,并再次接通电路,又将衔铁吸引过去。如此反复循环,使衔铁振动而不断敲击铃,只要电键闭合,铃声就能响个不停。交流电铃的工作原理与之类似,当周期性变化的交流电通过电磁铁的励磁线圈时,将产生时强时弱的磁场,从而对衔铁产生时强时弱的磁力,使得衔铁往复振动而敲击铃使之发声。电铃可作为门铃、信号铃使用。

电铃构造困

1.U形电磁铁 2.衔铁3.弹簧片 4.小锤5.铃 6. 电键7.调节螺丝

随便看

 

开放百科全书收录579518条英语、德语、日语等多语种百科知识,基本涵盖了大多数领域的百科知识,是一部内容自由、开放的电子版国际百科全书。

 

Copyright © 2000-2025 oenc.net All Rights Reserved
更新时间:2025/10/19 16:01:12